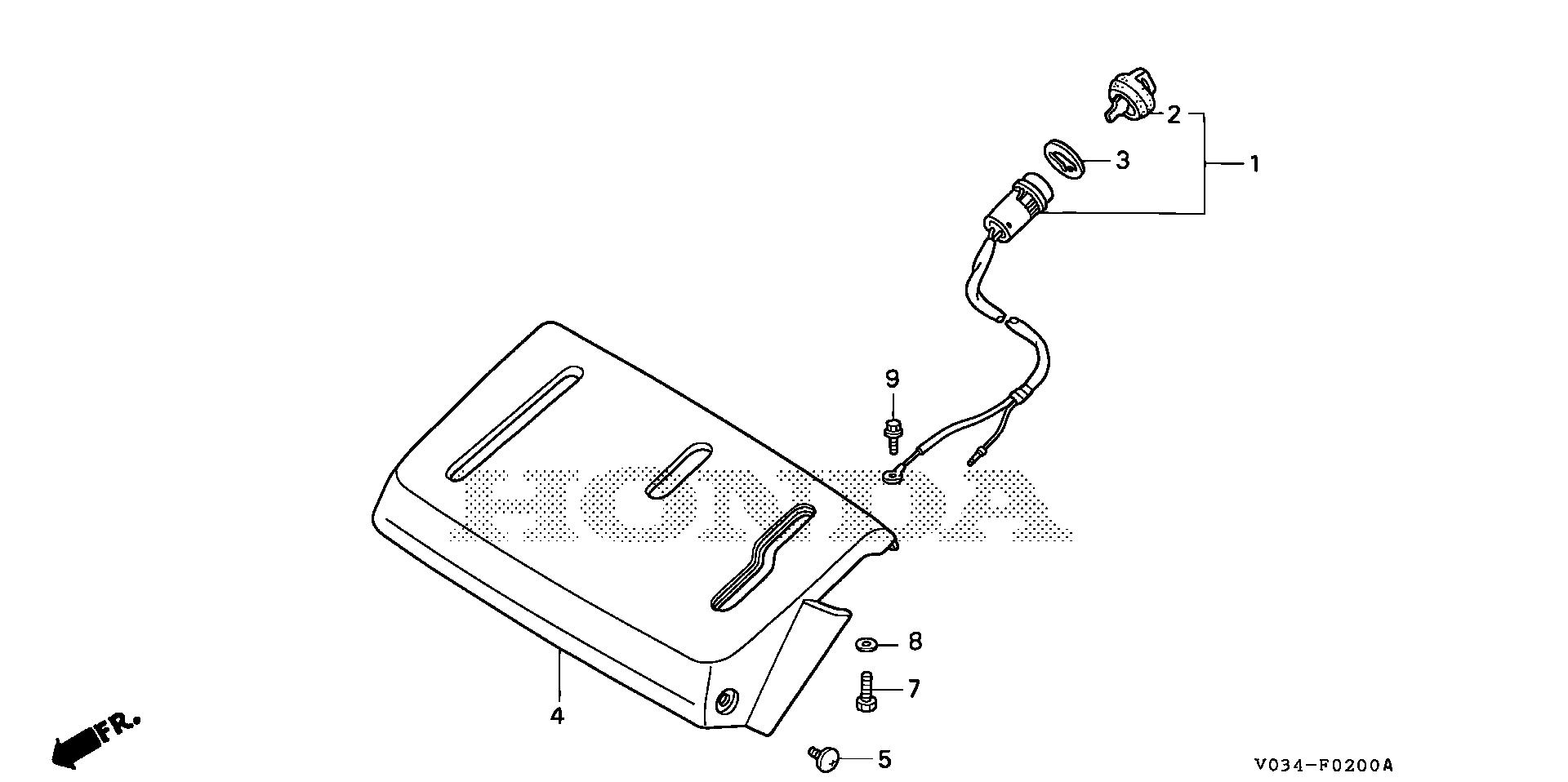
Snow Blowers HS HS1132 HS1132 TA SZBF-1000001-1009999 CONTROL PANEL - Carolina Honda

Ref No
Part Number
Description
Serial Range
Qty
Price

Ref No
1
Part Number
35100-767-B11
Description
SWITCH ASSY., COMBINATION
Serial Range
1000001 - 9999999
Qty
Price
$99.68

Ref No
2
Part Number
35110-766-003
Description
KEY ASSY., COMBINATION SWITCH (RED)
Serial Range
1000001 - 9999999
Qty
Price
$8.52

Ref No
3
Part Number
36101-767-A10
Description
SPACER, ENGINE STOP SWITCH
Serial Range
1000001 - 9999999
Qty
Price
$5.08

Ref No
4
Part Number
54221-767-A10ZA
Description
PANEL, CONTROL *NH296* (ALPS GRAY)
Serial Range
1000001 - 9999999
Qty
Price
$141.34

Ref No
5
Part Number
90123-750-000
Description
SCREW, METER VISOR SETTING
Serial Range
1011994 - 9999999
Qty
Price
$4.62

Ref No
7
Part Number
92101-05012-0G
Description
BOLT, HEX. (5X12)
Serial Range
1011994 - 9999999
Qty
Price
$1.26

Ref No
8
Part Number
94101-05000
Description
WASHER, PLAIN (5MM)
Serial Range
1012154 - 9999999
Qty
Price
$1.20

Ref No
9
Part Number
95701-06010-00
Description
BOLT, FLANGE (6X10)
Serial Range
1012154 - 9999999
Qty
Price
$1.54