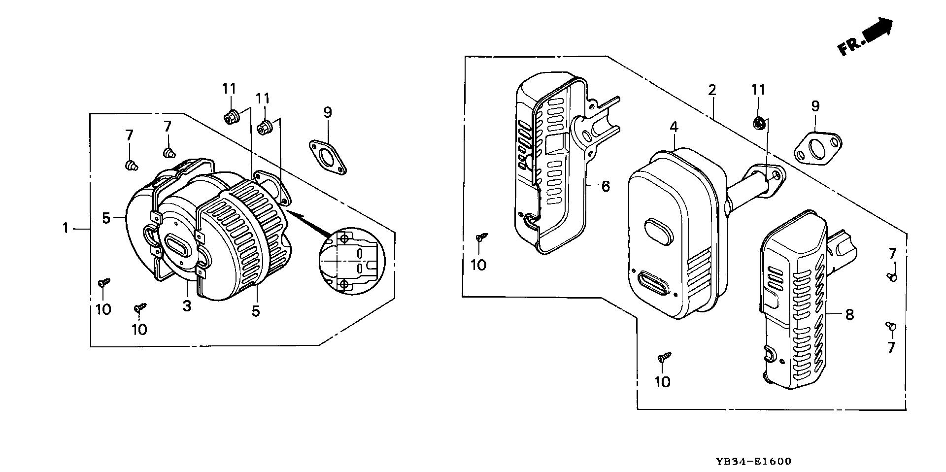
Water Pumps WB WB30 WB30T DRA WZAN-1000001-1999999 MUFFLER - Carolina Honda

Ref No
Part Number
Description
Serial Range
Qty
Price

Ref No
1
Part Number
18300-883-020
Description
MUFFLER ASSY.
Serial Range
1000001 - 9999999

Ref No
1
Part Number
18300-883-N00
Description
MUFFLER ASSY. (CHROME PLATED)
Serial Range
1000001 - 9999999
Qty
Price
$144.34

Ref No
3
Part Number
18310-883-N00
Description
MUFFLER
Serial Range
1000001 - 9999999
Qty
Price
$48.30

Ref No
5
Part Number
18320-883-020
Description
PROTECTOR, L. MUFFLER
Serial Range
1000001 - 9999999
Qty
Price
$35.62

Ref No
7
Part Number
18321-883-300
Description
RIVET (4X5)
Serial Range
1000001 - 9999999
Qty
Price
$1.64

Ref No
9
Part Number
18381-883-800
Description
GASKET, MUFFLER
Serial Range
1000001 - 9999999
Qty
Price
$4.96

Ref No
10
Part Number
90002-ZG0-003
Description
SCREW, TAPPING (4X8)
Serial Range
1000001 - 9999999
Qty
Price
$1.18

Ref No
11
Part Number
94050-08080
Description
NUT, FLANGE (8MM)
Serial Range
1000001 - 9999999
Qty
Price
$1.18