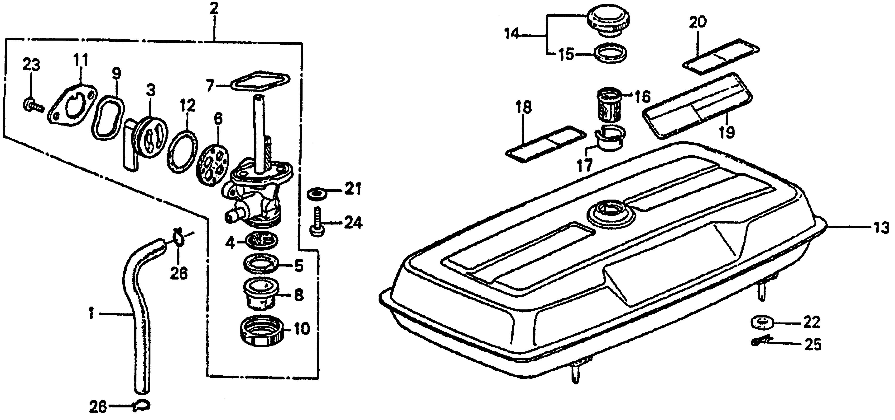
Generators ES ES3500 ES3500 A ES3500-1000032-1028641 FUEL TANK@FUEL VALVE ASSY. - Carolina Honda

Ref No
Part Number
Description
Serial Range
Qty
Price

Ref No
1
Part Number
16851-880-000
Description
TUBE, CARBURETOR FUEL (NOT AVAILABLE)
Serial Range
1000001 - 9999999

Ref No
2
Part Number
16950-865-055
Description
PETCOCK ASSY.
Serial Range
1000001 - 9999999

Ref No
3
Part Number
16952-865-010
Description
LEVER, VALVE
Serial Range
1000001 - 9999999

Ref No
4
Part Number
16080-865-005
Description
GASKET SET, VALVE
Serial Range
1000001 - 9999999
Qty
Price
$40.44

Ref No
5
Part Number
16958-703-007
Description
GASKET, FUEL STRAINER CUP
Serial Range
1000001 - 9999999

Ref No
6
Part Number
16959-865-000
Description
GASKET, VALVE (NOT AVAILABLE)
Serial Range
1000001 - 9999999

Ref No
7
Part Number
16962-865-010
Description
RING, PETCOCK SEAL
Serial Range
1000001 - 9999999

Ref No
8
Part Number
16921-815-004
Description
BOWL, FUEL
Serial Range
1000001 - 9999999
Qty
Price
$6.94

Ref No
9
Part Number
16975-815-004
Description
SPRING, LEVER (NOT AVAILABLE)
Serial Range
1000001 - 9999999
Qty
Price
$4.46

Ref No
10
Part Number
16977-703-000
Description
NUT, RING (NOT AVAILABLE)
Serial Range
1000001 - 9999999

Ref No
11
Part Number
16978-865-014
Description
STOPPER, LEVER (NOT AVAILABLE)
Serial Range
1000001 - 9999999

Ref No
12
Part Number
16983-815-000
Description
O-RING (21MM) (NOT AVAILABLE)
Serial Range
1000001 - 9999999

Ref No
13
Part Number
17500-880-000XC
Description
TANK, FUEL *NH31* (MCKINLEY WHITE) (NOT AVAILABLE)
Serial Range
1000001 - 9999999

Ref No
14
Part Number
17620-402-010
Description
CAP, FUEL FILLER
Serial Range
1000001 - 9999999

Ref No
15
Part Number
17631-329-003
Description
GASKET, FUEL FILLER CAP (39X58X3)
Serial Range
1000001 - 9999999

Ref No
16
Part Number
17672-880-000
Description
FILTER, FUEL
Serial Range
1000001 - 9999999
Qty
Price
$13.66

Ref No
17
Part Number
17673-893-000
Description
HOLDER, FUEL FILTER
Serial Range
1000001 - 9999999
Qty
Price
$14.30

Ref No
18
Part Number
87522-836-670
Description
MARK A, CAUTION (NOT AVAILABLE)
Serial Range
1000001 - 9999999

Ref No
19
Part Number
87522-880-670
Description
PLATE, CAUTION (NOT AVAILABLE)
Serial Range
1000001 - 9999999

Ref No
20
Part Number
87561-880-600
Description
MARK, CAUTION (ENGLISH/FRENCH/SPANISH)
Serial Range
1002972 - 9999999
Qty
Price
$5.40

Ref No
21
Part Number
90445-700-000
Description
GASKET, FIBER (6MM)
Serial Range
1000001 - 9999999

Ref No
22
Part Number
90506-500-000
Description
WASHER, AIR DUCT
Serial Range
1000001 - 9999999

Ref No
23
Part Number
93500-03008-0A
Description
SCREW, PAN (3X8)
Serial Range
1000001 - 9999999
Qty
Price
$1.00

Ref No
24
Part Number
93500-06016-0A
Description
SCREW, PAN (6X16)
Serial Range
1000001 - 9999999
Qty
Price
$1.40

Ref No
25
Part Number
94251-08000
Description
PIN, LOCK (8MM)
Serial Range
1000001 - 9999999
Qty
Price
$1.50

Ref No
26
Part Number
95002-02120
Description
CLIP, TUBE (B12)
Serial Range
1000001 - 9999999
Qty
Price
$2.44